特定技能などの外国人スタッフを管理するための人材管理・教育管理システム「MANABEL JAPAN」が備付帳簿出力機能・Excel帳票出力機能をリリース
※このリリースは当サイトの会員によって投稿されたユーザー投稿のため、当サイト推奨のプレスリリースとは形式が異なる場合があります。
株式会社プロシーズ(代表取締役:花田 隆典、以下プロシーズ)が提供する日本で働く外国人のための教育支援+人材管理サービス『MANABEL JAPAN(マナベルジャパン)』は、新たに「備付帳簿出力機能」および「Excel帳票出力機能」をリリースいたしました。
株式会社プロシーズ(代表取締役:花田 隆典、以下プロシーズ)が提供する日本で働く外国人のための「教育支援+人材管理」サービス『MANABEL JAPAN(マナベルジャパン)』は、新たに「備付帳簿出力機能」および「Excel帳票出力機能」をリリースいたしました。
【新機能リリースの背景】
特定技能制度の拡大により、登録支援機関が扱う外国人スタッフ情報や申請書類は年々増加しています。現場では、
・備付帳簿の作成に手間がかかる
・出力した申請書類の確認時にわずかな修正が必要になっても、その場で柔軟に編集できない
といった非効率が課題となり、「Excelで直接編集したい」「帳票を柔軟に再利用したい」という要望が多く寄せられていました。これらの課題に対応するため、今回のリリースを実施しました。
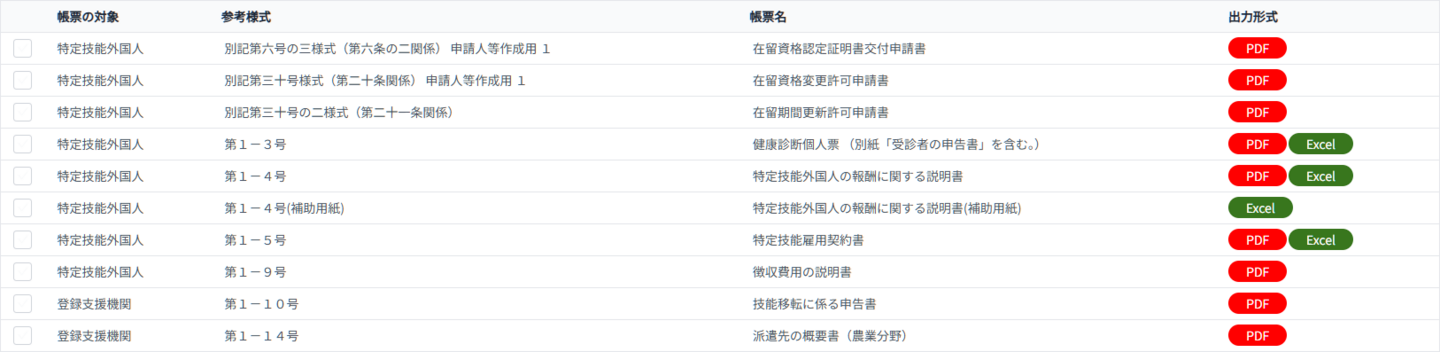
【備付帳簿出力機能】
・登録された外国人スタッフのプロフィール情報を、一覧形式で自動出力できるように改修
・Excel形式での出力により、集計や他システムとの連携にも便利
・一覧表を含む帳票はExcel形式で出力・行数が自動調整され、追記や修正もスムーズに実施可能
これにより、入管庁が定める備付帳簿に対応でき、さらに登録データを自動入力することで転記ミスの防止にもつながります。
【Excel帳票出力機能】
・在留資格申請書類をExcel形式でも出力可能に
・既存の帳票についても、順次Excel形式への対応を拡大予定
Excel上で直接修正・再出力できるため、申請内容の変更や再提出にも柔軟に対応できます。
■MANABEL JAPANとは
外国人材の「教育支援体制と人材管理体制」を構築するためのプラットフォームです。
教育コンテンツの配信や受講状況の管理だけではなく、申請に必要な帳票の出力やビザの管理などもできるので、無駄を省き、支援を充実することに時間やコストを投下できるようになります。
また、日本で働く外国人が介護、建設、観光業界など、各種業界に特化した人材の育成が不可欠になる今後を見据え、各業界団体様や企業様に向けて、日本語教育を中心とした業界特化型の教育支援を行っています。
今後もプロシーズでは、働く皆様のキャリアアップと企業の発展に寄与すべく、eラーニングソリューションを提供してまいります。
■株式会社プロシーズ概要
学習効果を最大化するeラーニングを追求するプロフェッショナル企業です。2,800社以上の導入実績、1,000,000人以上の利用実績があります。
・大阪本社
住所:〒564-0052 大阪府吹田市広芝町10番25号 第2池上ビル1階
TEL:06-6190-6276
・東京本部
住所:〒108-0073 東京都港区三田3丁目1番17号 アクシオール三田7階
TEL:03-6400-0507
ログインするとメディアの方限定で公開されている
お問い合わせ先や情報がご覧いただけます
添付画像・資料
添付画像をまとめてダウンロード
企業情報
| 企業名 | 株式会社プロシーズ |
|---|---|
| 代表者名 | 花田 隆典 |
| 業種 | ネットサービス |
コラム
株式会社プロシーズの
関連プレスリリース
-
約135時間の効率設計で合格ラインへ導く!介護福祉士国家試験対策のeラーニング講座を提供開始
2026年4月24日 14時 Cユーザー投稿
-
eラーニングシステムLearningWareが、ITreview Grid Award 2026 Springの「LMS」カテゴリで、最高位の「Leader」を
2026年4月16日 10時
-
【4/27(月)】オンラインセミナー「スカウト無視、面談離脱…… 就活を終えた27卒に本音を聞く! 彼らが本当に求めていたものとは!?」開催
2026年3月27日 13時
-
LearningWare、eラーニングコンテンツの中国現地配信に対応
2026年3月2日 10時 Cユーザー投稿
株式会社プロシーズの
関連プレスリリースをもっと見る









